青鸟消防:2024年第一季度净利润7868.07万元 同比增长1.68%

中证智能财讯 青鸟消防(002960)4月27日披露2024年一季报。2024年第一季度,公司实现营业总收入9.17亿元,同比增长10.27%;归母净利润7868.07万元,同比增长1.68%;扣非净利润6679.90万元,同比增长7.79%;经营活动产生的现金流量净额为-2.31亿元,上年同期为-1.90亿元;报告期内,青鸟消防基本每股收益为0.107元,加权平均净资产收益率为1.27%。


2024年第一季度,公司毛利率为41.28%,同比上升2.44个百分点;净利率为9.05%,较上年同期下降0.69个百分点。

数据显示,2024年第一季度公司加权平均净资产收益率为1.27%,较上年同期下降0.05个百分点;公司2024年第一季度投入资本回报率为1.05%,较上年同期下降0.17个百分点。

2024年第一季度,公司经营活动现金流净额为-2.31亿元,同比减少4068.05万元;筹资活动现金流净额-2.05亿元,同比减少1.40亿元,主要系报告期股票回购现金流出所致;投资活动现金流净额4365.48万元,上年同期为1.54亿元,主要系报告期用于委托理财的资金净流入减少所致。

2024年第一季度,公司营业收入现金比为91.35%,净现比为-293.75%。

资产重大变化方面,截至2024年一季度末,公司应收账款较上年末增加8.30%,占公司总资产比重上升3.66个百分点;货币资金较上年末减少14.84%,占公司总资产比重下降3.56个百分点;应收款项融资较上年末减少36.49%,占公司总资产比重下降1.46个百分点;交易性金融资产较上年末减少87.59%,占公司总资产比重下降1.18个百分点。

负债重大变化方面,截至2024年一季度末,公司应付账款较上年末减少19.24%,占公司总资产比重下降1.23个百分点;应付职工薪酬较上年末减少51.21%,占公司总资产比重下降1.05个百分点;预收款项较上年末减少43.30%,占公司总资产比重下降0.66个百分点;应交税费较上年末减少22.43%,占公司总资产比重下降0.19个百分点。

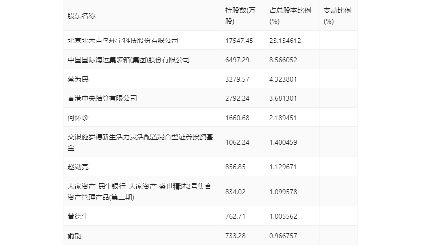
一季报显示,2024年一季度末的公司十大流通股东中,新进股东为交银施罗德新生活力灵活配置混合型证券投资基金、俞韵,取代了上年末的陈立军、李夜淋。在具体持股比例上,蔡为民、赵勋亮、大家资产-民生银行-大家资产-盛世精选2号集合资产管理产品(第二期)持股有所上升,北京北大青鸟环宇科技股份有限公司、中国国际海运集装箱(集团)股份有限公司、香港中央结算有限公司、何怀珍、曾德生持股有所下降。

筹码集中度方面,截至2024年一季度末,公司股东总户数为2.36万户,较上年末增长了475户,增幅2.05%;户均持股市值由上年末的45.30万元上升至48.04万元,增幅为6.05%。
