龙虎榜丨亚世光电今日跌停,营业部席位合计净买入226.54万元

查股网  2024-01-09 17:13  亚世光电(002952)个股分析

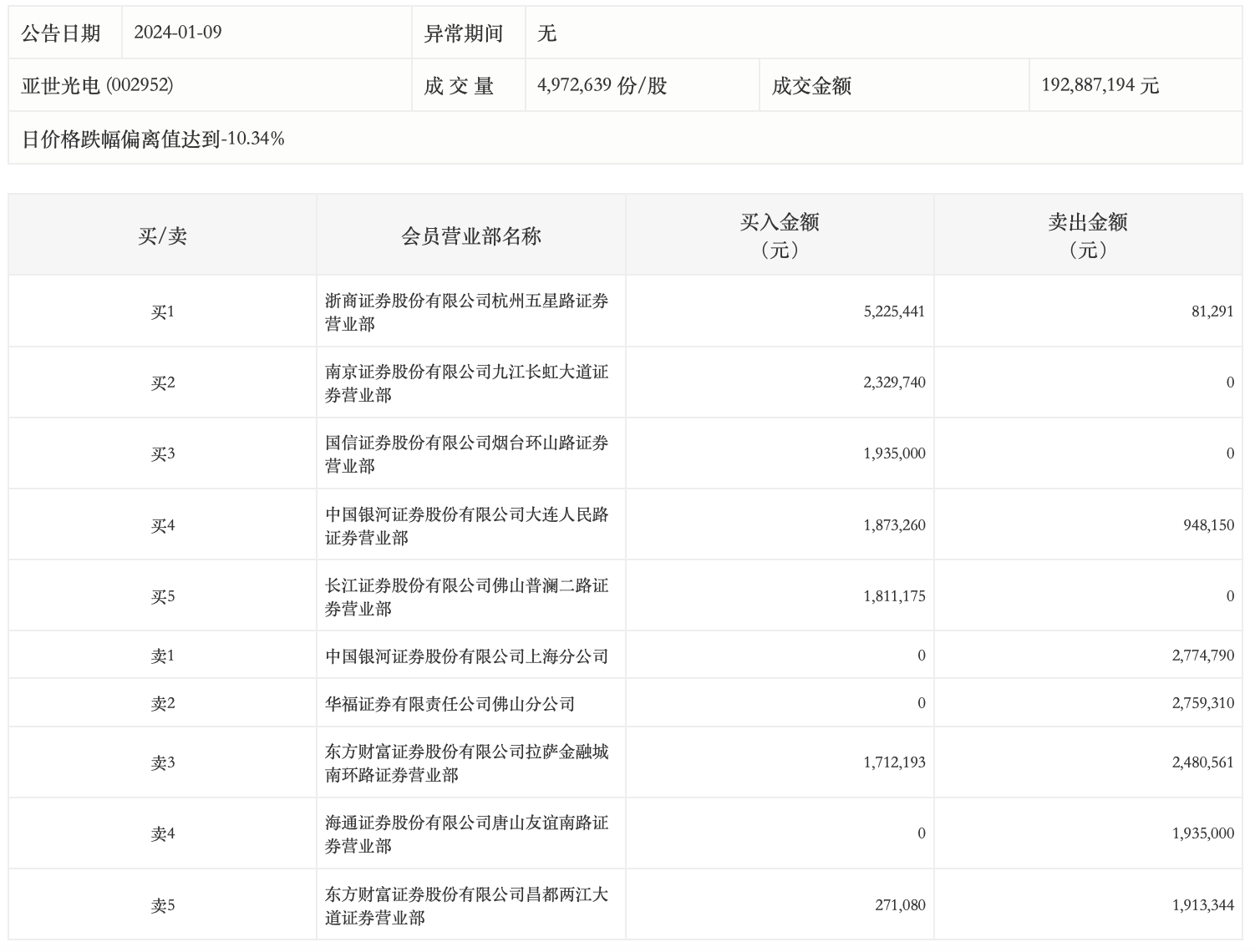
1月9日,亚世光电今日跌停,全天换手率达3.77%,振幅达2.47%。龙虎榜数据显示,营业部席位合计净买入226.54万元。其中,中国银河证券上海分公司、华福证券佛山分公司分别卖出277.48万元、275.93万元;浙商证券杭州五星路证券营业部、南京证券九江长虹大道证券营业部分别买入522.54万元、232.97万元。