龙虎榜丨中大力德今日涨停,宁波桑田路买入3938.89万元并卖出268.45万元

http://ddx.gubit.cn  2023-06-30 22:36  中大力德(002896)公司分析

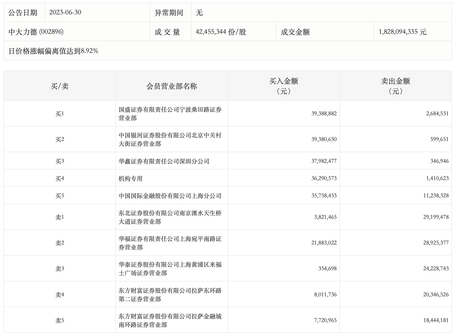
6月30日,中大力德今日涨停,龙虎榜数据显示,上榜营业部席位全天成交3.68亿元,占当日总成交金额比例为20.13%。其中,买入金额为2.31亿元,卖出金额为1.37亿元,合计净买入9316.85万元。

具体来看,机构买入3629.06万元,卖出141.06万元,合计净买入3488.0万元。此外,知名游资现身龙虎榜,宁波桑田路(国盛证券宁波桑田路证券营业部)、中国银河证券北京中关村大街证券营业部分别买入3938.89万元、3938.07万元;东北证券南京溧水天生桥大道证券营业部、华福证券上海宛平南路证券营业部分别卖出2919.95万元、2892.54万元。