龙虎榜丨捷荣技术今日涨停,机构合计净卖出1867.34万元

查股网  2023-12-22 20:23  捷荣技术(002855)个股分析

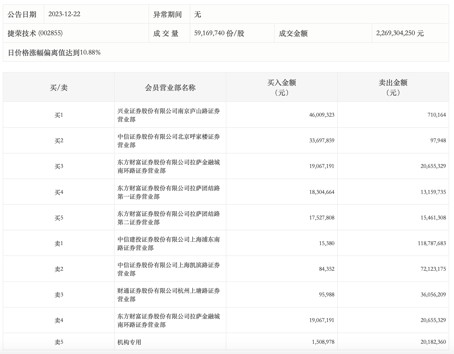
12月22日,捷荣技术今日涨停,全天换手率达24.04%,振幅达7.12%。龙虎榜数据显示,营业部席位合计净卖出1.61亿元。其中,机构买入150.9万元,卖出2018.24万元,合计净卖出1867.34万元。此外,兴业证券南京庐山路证券营业部、中信证券北京呼家楼证券营业部分别买入4600.93万元、3369.79万元;中信建投证券上海浦东南路证券营业部、中信证券上海凯滨路证券营业部分别卖出1.19亿元、7212.32万元。