龙虎榜丨捷荣技术今日涨停,营业部席位合计净买入1.15亿元

查股网  2023-12-21 20:15  捷荣技术(002855)个股分析

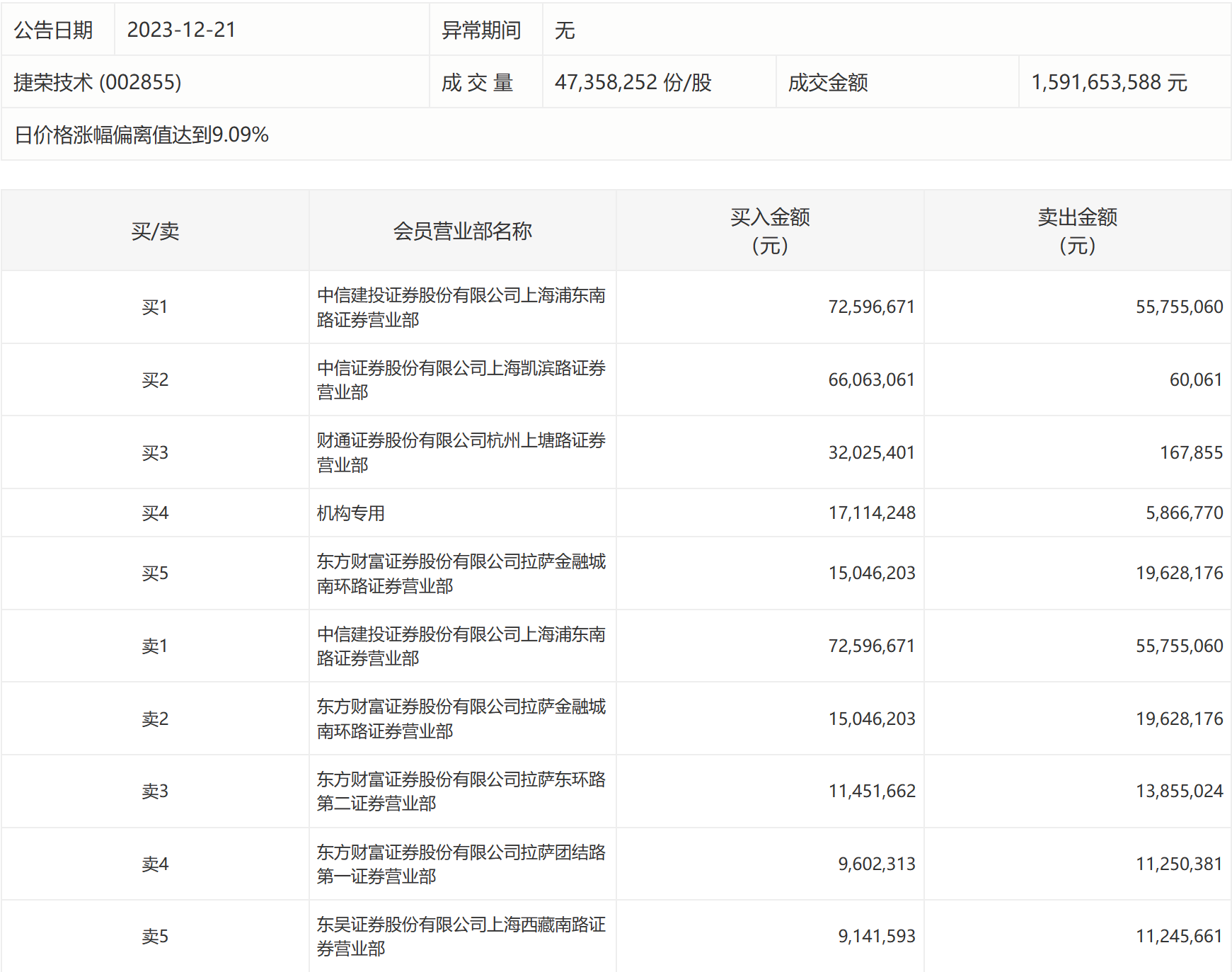
12月21日,捷荣技术今日涨停,全天换手率达19.24%,振幅达12.28%。龙虎榜数据显示,营业部席位合计净买入1.15亿元。其中,机构买入1711.42万元,卖出586.68万元,合计净买入1124.75万元。此外,中信建投证券上海浦东南路证券营业部、中信证券上海凯滨路证券营业部分别买入7259.67万元、6606.31万元;中信建投证券上海浦东南路证券营业部、东方财富证券拉萨金融城南环路证券营业部分别卖出5575.51万元、1962.82万元。