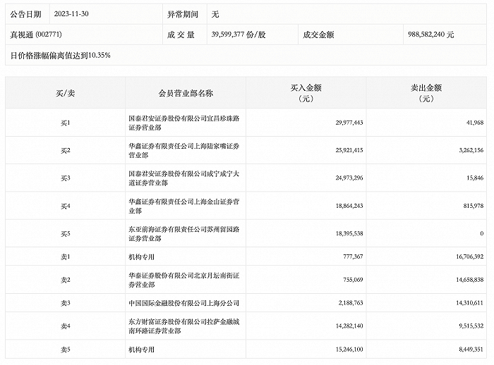
龙虎榜丨真视通今日涨停,营业部席位合计净买入9273.7万元
11月30日,真视通今日涨停,全天换手率23.18%,成交额9.89亿元,振幅11.62%。龙虎榜数据显示,机构净卖出913.23万元,营业部席位合计净买入9273.70万元。深交所公开信息显示,当日该股因日涨幅偏离值达10.35%上榜。
上榜的前五大买卖营业部合计成交2.19亿元,其中,买入成交额为1.51亿元,卖出成交额为6777.67万元,合计净买入8360.47万元。

11月30日,真视通今日涨停,全天换手率23.18%,成交额9.89亿元,振幅11.62%。龙虎榜数据显示,机构净卖出913.23万元,营业部席位合计净买入9273.70万元。深交所公开信息显示,当日该股因日涨幅偏离值达10.35%上榜。
上榜的前五大买卖营业部合计成交2.19亿元,其中,买入成交额为1.51亿元,卖出成交额为6777.67万元,合计净买入8360.47万元。
