龙虎榜丨真视通今日跌9.76%,机构合计净买入948.02万元

http://ddx.gubit.cn  2023-10-11 16:45  真视通(002771)公司分析

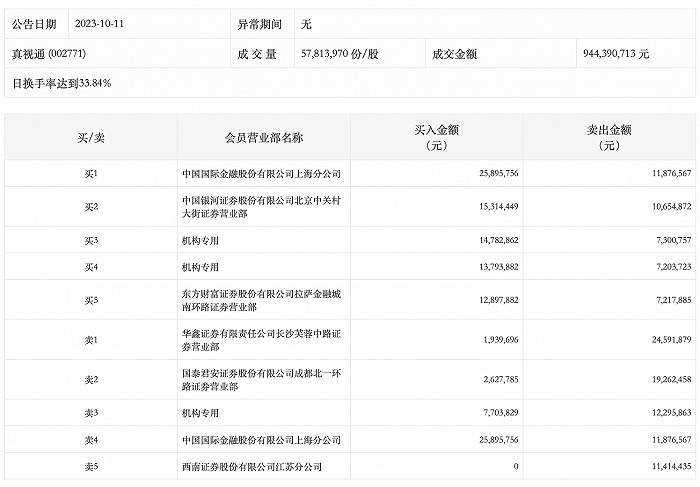
10月11日,真视通今日跌9.76%,全天换手率达33.84%,振幅达13.69%。龙虎榜数据显示,营业部席位合计净卖出1686.23万元。其中,机构买入3628.06万元,卖出2680.03万元,合计净买入948.02万元。此外,华鑫证券长沙芙蓉中路证券营业部、国泰君安证券成都北一环路证券营业部分别卖出2459.19万元、1926.25万元;中国国际金融上海分公司、中国银河证券北京中关村大街证券营业部分别买入2589.58万元、1531.44万元。