龙虎榜 | 蓝黛科技今日跌停,炒股养家净卖出1839.2万元

查股网  2024-11-12 20:37  蓝黛科技(002765)个股分析

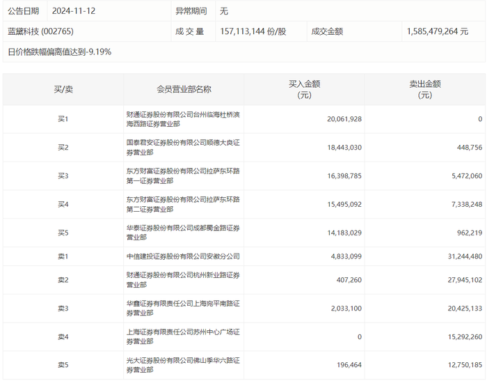
蓝黛科技今日跌停,龙虎榜数据显示,上榜营业部席位全天成交2.14亿元,占当日总成交金额比例为13.49%。其中,买入金额为9205.18万元,卖出金额为1.22亿元,合计净卖出2982.67万元。

具体来看,知名游资现身龙虎榜,炒股养家(华鑫证券有限责任公司上海宛平南路证券营业部)净卖出1839.20万元。此外,中信建投证券安徽分公司、财通证券杭州新业路证券营业部分别卖出3124.45万元、2794.51万元;财通证券台州临海杜桥滨海西路证券营业部、国泰君安证券顺德大良证券营业部分别买入2006.19万元、1844.30万元。