龙虎榜丨浙江建投今日涨停,知名游资现身龙虎榜,方新侠买入5003.03万元

http://ddx.gubit.cn  2023-07-21 16:57  浙江建投(002761)公司分析

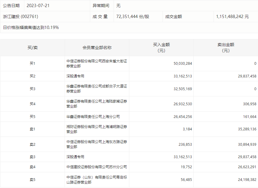
7月21日,浙江建投今日涨停,龙虎榜数据显示,上榜营业部席位全天成交3.17亿元,占当日总成交金额比例为27.5%。其中,买入金额为1.69亿元,卖出金额为1.47亿元,合计净买入2208.92万元。

具体来看,知名游资现身龙虎榜,方新侠(中信证券西安朱雀大街证券营业部)、深股通专用分别买入5003.03万元、3316.25万元;湘财证券上海浦明路证券营业部、中信证券上海东方路证券营业部分别卖出3528.91万元、3089.49万元。