龙虎榜丨冀凯股份今日涨停,上榜营业部合计净买入1.09亿元

查股网  2025-01-27 21:00  冀凯股份(002691)个股分析

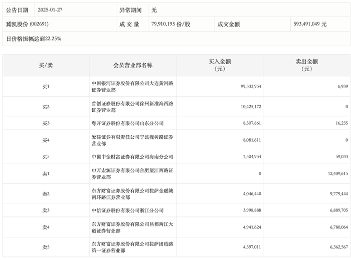
1月27日,冀凯股份今日涨停,龙虎榜数据显示,上榜营业部席位全天成交1.93亿元,占当日总成交金额比例为32.58%。其中,买入金额为1.51亿元,卖出金额为4230.36万元,合计净买入1.09亿元。

具体来看,中国银河证券大连黄河路证券营业部、首创证券徐州新淮海西路证券营业部分别买入9933.40万元、1042.52万元;申万宏源证券有限公司合肥望江西路证券营业部、东方财富证券拉萨金融城南环路证券营业部分别卖出1240.96万元、977.94万元。