龙虎榜丨福建金森今日跌停,营业部席位合计净卖出1527.01万元

http://ddx.gubit.cn  2023-09-27 20:24  福建金森(002679)公司分析

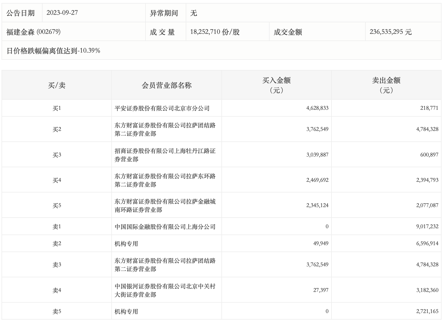
9月27日,福建金森今日跌停,全天换手率达7.74%,振幅达7.13%。龙虎榜数据显示,营业部席位合计净卖出1527.01万元。其中,机构买入4.99万元,卖出931.81万元,合计净卖出926.81万元。此外,中国国际金融上海分公司、东方财富证券拉萨团结路第二证券营业部分别卖出901.72万元、478.43万元;平安证券北京市分公司、东方财富证券拉萨团结路第二证券营业部分别买入462.88万元、376.25万元。