龙虎榜丨好想你今日涨停,上榜营业部合计净买入1.53亿元

查股网  2025-01-13 21:06  好想你(002582)个股分析

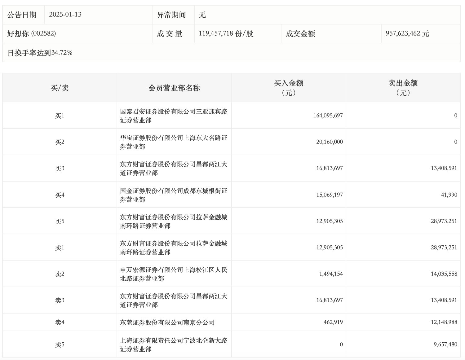
1月13日,好想你今日涨停,龙虎榜数据显示,上榜营业部席位全天成交3.09亿元,占当日总成交金额比例为32.3%。其中,买入金额为2.31亿元,卖出金额为7826.59万元,合计净买入1.53亿元。

具体来看,国泰君安证券三亚迎宾路证券营业部、华宝证券上海东大名路证券营业部分别买入1.64亿元、2016万元;东方财富证券拉萨金融城南环路证券营业部、申万宏源证券有限公司上海松江区人民北路证券营业部分别卖出2897.33万元、1403.56万元。