龙虎榜 | 巨人网络今天涨停,两机构合计净买入约1.03亿元

http://ddx.gubit.cn  2023-05-30 18:24  巨人网络(002558)公司分析

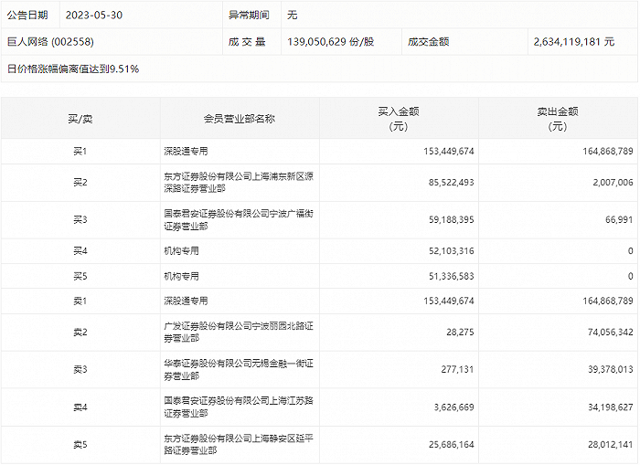
5月30日,巨人网络今天涨停。盘后数据显示,2个机构出现在龙虎榜单上,合计净买入约1.03亿元;东方证券股份有限公司上海浦东新区源深路证券营业部买入8552.25万元,同时卖出200.7万元;广发证券股份有限公司宁波丽园北路证券营业部买入2.83万元,同时卖出7405.63万元。