洽洽食品玩梗遭疑内涵明星 牵出产品质量旧账
12月2日,洽洽坚果官微发布推广文案“洽洽瓜子很干燥,没有多余水分”。这本是一则常规的产品宣传,但在评论区与网友互动时,官方账号回复了一句"洽洽瓜紫≠洽洽瓜子",迅速引发舆论漩涡。
这是因为洽洽官方回应与网络上部分网友对演员杨紫主演剧集“数据注水”的争议形成语义关联,被杨紫粉丝解读为暗讽或内涵,粉丝要求洽洽食品(002557)全平台道歉,并称要抵制洽洽产品作为年货。
洽洽食品已经删除了相关文案,曾经涉及话题的多个品牌官方账号紧急删除评论并致歉。洽洽食品还未发布正式道歉声明,仅在回应媒体称"相关内容给大家造成了误会和困扰,内容并无任何内涵意思"。
翻出洽洽食品“黑历史”
洽洽食品一句 "很干燥" 的文案,因与杨紫主演的剧集形成不当联想,引发其粉丝对洽洽食品的疯狂吐槽。粉丝要求洽洽食品全平台正式道歉、开除涉事运营并同步发起#洽洽瓜子二氧化硫残留#话题,呼吁消费者向12315举报食安问题。
洽洽瓜子二氧化硫残留要追溯到2019年8月。彼时北京和广州市场监管局通报洽洽瓜子二氧化硫残留及霉菌超标。#洽洽瓜子二氧化硫残留#话题至今仍存在,在此次疑似内涵事件爆发前,相关阅读较少,但截至12月3日中午的24小时,阅读量骤升至1263万。过去30天,阅读量也只有1265万。

截至12月3日中午,#洽洽瓜子二氧化硫残留#这个数年前的话题创建以来累计阅读量已经达到2.1亿次。事件愈演愈烈,洽洽食品始终没有官方正式回应。
与此同时,事件爆发后,洽洽食品产品质量也遭到批评。实际上,对于洽洽食品质量问题的投诉始终存在。黑猫投诉[下载黑猫投诉客户端]平台显示,有的消费者投诉购买的洽洽坚果发霉变质;有的称产品吃出了异物,诸如此类投诉屡见不鲜。
12315举报平台上,消费者对洽洽食品的产品质量问题也是频频投诉,很多消费者投诉购买的坚果和瓜子等产品可能存在食品安全等问题,要求洽洽食品赔偿。仅近一个月,消费者在12315投诉平台上公示的投诉总量就达到61件,环比大涨916.67%。

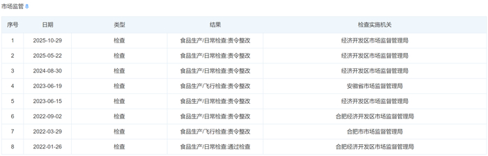
不仅如此,官方近三年的检查中,洽洽食品始终存在问题:天眼查显示,2022-2025年,安徽各级市场监管部门对洽洽食品的检查中,“食品生产/日常检查”仅在2022年1月通过一次,其余5次全部要求公司“责令整改”。
除了日常检查,飞行检查则从未达标。2022年和2023年,监管部门对洽洽食品做了两次“食品生产/飞行检查”,检查结果全部是“责令整改”。

监管部门对洽洽食品最近一次检查就发生在一个多月前的2025年10月底。如前所述,结果是“责令整改”。洽洽食品每年都接受检查,每年的结果几乎都是“责令整改”,公司看来并未整改。
净利润跳水
频遭投诉的洽洽食品正遭遇上市以来盈利最大退坡。
2025年前三季度,洽洽食品实现营收45亿元,同比下降5.4%;实现归属于上市公司股东的净利润1.7亿元,同比降幅达到73.2%。这之前,公司虽也有收入或者净利润的下降,但降幅远不及如今。
进入2025年后,洽洽食品业绩就开始大幅下降。2025半年报业绩预告中,洽洽食品表示,净利润下滑的主要原因是原料采购价格上升较多,导致毛利率有较大幅度下降。
2025年中报和三季报,洽洽食品毛利率在20%左右,同比下降约8个百分点。如公司所言,毛利率确实下降明显。过去数年,洽洽食品毛利率多数时间在30%上下徘徊。
收入占比超60%的葵花子是洽洽食品的最主要收入来源。2025年上半年,公司葵花子毛利率20.9%,同比下降约8个百分点,另一主要收入来源坚果类毛利率降至14.8%,毛利率减少了约14个百分点,降幅近半。
东方财富Choice根据中国农业信息网的数据统计显示,葵花籽价格波动上涨主要在2020年8月至2022年6月。之后价格逐渐走低,从2023年下半年开始,葵花籽价格基本保持稳定。

行业网站上显示的信息,葵花籽价格并没有太大变化,当然这不能完全说明公司具体采购价格的变化,且葵花籽用途较多,价格也会不同。
葵花籽是洽洽食品采购的主要原材料,是洽洽瓜子的核心成本。在2025年10月底的投资者调研中,洽洽食品表示,公司目前葵花籽原料采购价格比上一采购季价格有一些下降,这是否意味着公司未来的毛利率会好转呢?