龙虎榜|恺英网络今日跌3.35%,机构合计净卖出6792.37万元

http://ddx.gubit.cn  2023-04-10 16:49  恺英网络(002517)公司分析

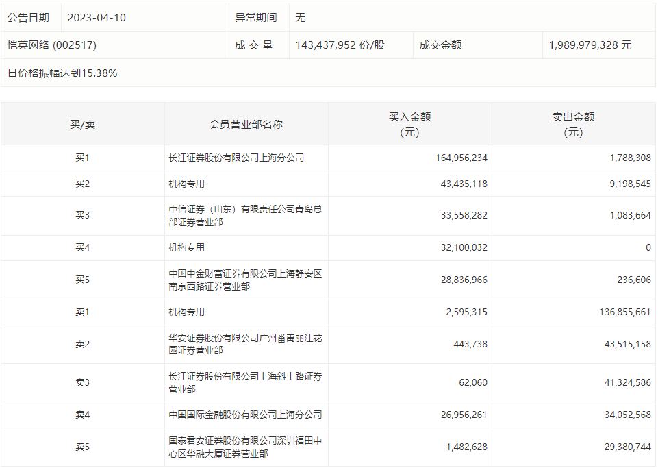
4月10日,恺英网络今日跌3.35%,龙虎榜数据显示,上榜营业部席位全天成交6.32亿元,占当日总成交金额比例为31.75%。其中,买入金额为3.34亿元,卖出金额为2.97亿元,合计净买入3699.08万元。

具体来看,机构买入7813.05万元,卖出1.46亿元,合计净卖出6792.37万元。此外,华安证券广州番禹丽江花园证券营业部、长江证券上海斜土路证券营业部分别卖出4351.52万元、4132.46万元;长江证券上海分公司、中信证券(山东)青岛总部证券营业部分别买入1.65亿元、3355.83万元。