龙虎榜丨沪电股份今日涨停,深股通专用买入2.05亿元并卖出2.01亿元

http://ddx.gubit.cn  2023-06-30 22:41  沪电股份(002463)公司分析

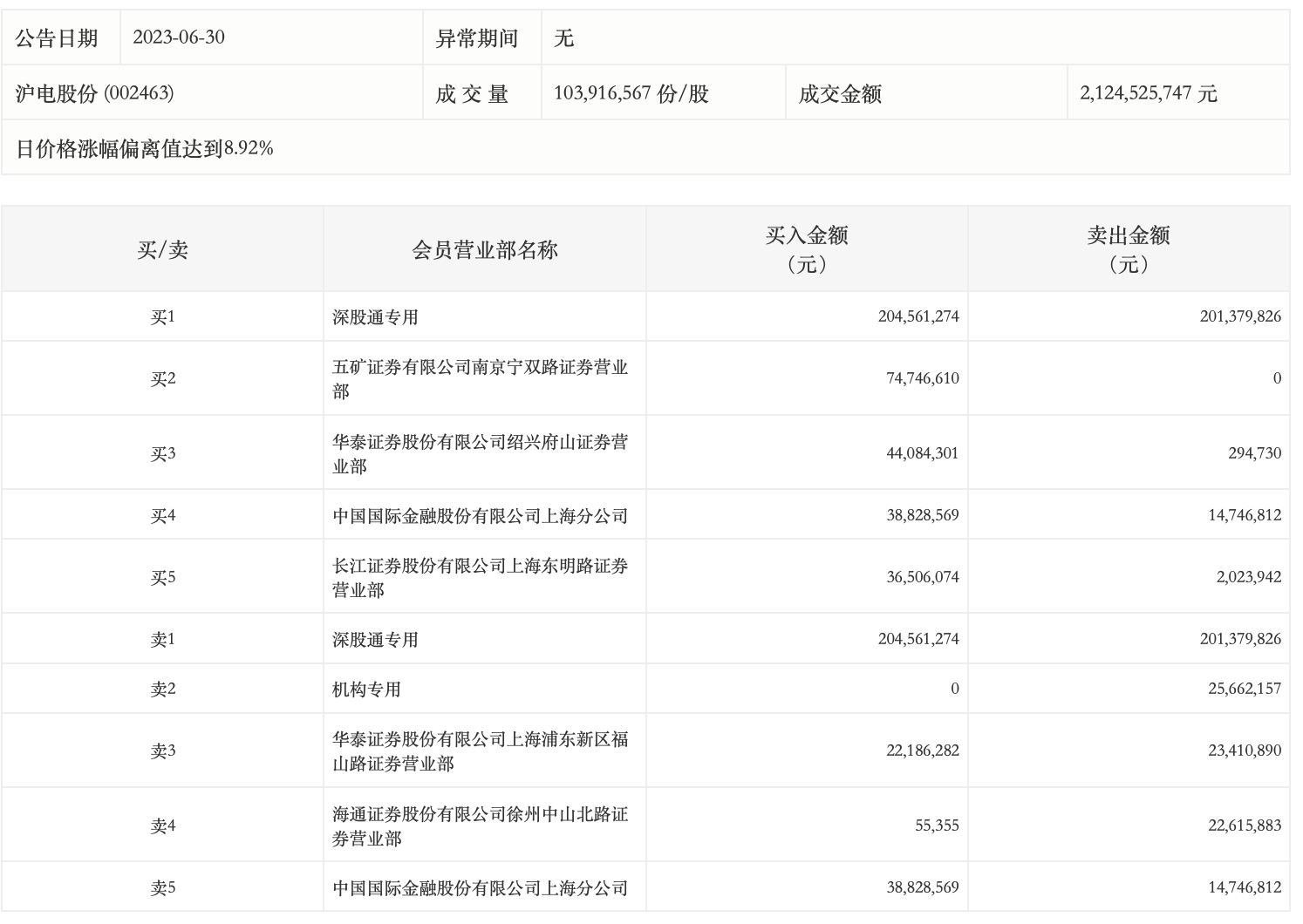
6月30日,沪电股份今日涨停,龙虎榜数据显示,上榜营业部席位全天成交7.11亿元,占当日总成交金额比例为33.47%。其中,买入金额为4.21亿元,卖出金额为2.9亿元,合计净买入1.31亿元。

具体来看,机构合计净卖出2566.22万元。此外,深股通专用、五矿证券有限公司南京宁双路证券营业部分别买入2.05亿元、7474.66万元;深股通专用、华泰证券上海浦东新区福山路证券营业部分别卖出2.01亿元、2341.09万元。