启明星辰:2024年第一季度亏损1.13亿元

中证智能财讯 启明星辰(002439)4月27日披露2024年一季报。2024年第一季度,公司实现营业总收入9.23亿元,同比增长17.13%;归母净利润亏损1.13亿元,上年同期亏损6572.68万元;扣非净利润亏损4789.36万元,上年同期亏损9968.33万元;经营活动产生的现金流量净额为-1.18亿元,上年同期为-3.86亿元;报告期内,启明星辰基本每股收益为-0.09元,加权平均净资产收益率为-0.95%。


2024年第一季度,公司毛利率为50.81%,同比下降0.28个百分点;净利率为-12.46%,较上年同期下降3.83个百分点。

数据显示,2024年第一季度公司加权平均净资产收益率为-0.95%,较上年同期下降0.06个百分点;公司2024年第一季度投入资本回报率为-1.46%,较上年同期下降0.24个百分点。

2024年第一季度,公司经营活动现金流净额为-1.18亿元,同比增加2.67亿元;筹资活动现金流净额1397.73万元,同比增加2527.54万元;投资活动现金流净额8403.78万元,上年同期为-1.38亿元。

2024年第一季度,公司营业收入现金比为127.36%。

资产重大变化方面,截至2024年一季度末,公司交易性金融资产较上年末减少11.97%,占公司总资产比重下降0.76个百分点;应收账款较上年末减少4.11%,占公司总资产比重下降0.65个百分点;应收票据较上年末增加112.92%,占公司总资产比重上升0.62个百分点;货币资金较上年末减少0.39%,占公司总资产比重上升0.61个百分点。

负债重大变化方面,截至2024年一季度末,公司应付账款较上年末减少9.01%,占公司总资产比重下降0.68个百分点;应交税费较上年末减少9.02%,占公司总资产比重下降0.23个百分点;合同负债较上年末减少10.41%,占公司总资产比重下降0.14个百分点;其他应付款(含利息和股利)较上年末增加10.08%,占公司总资产比重上升0.20个百分点。

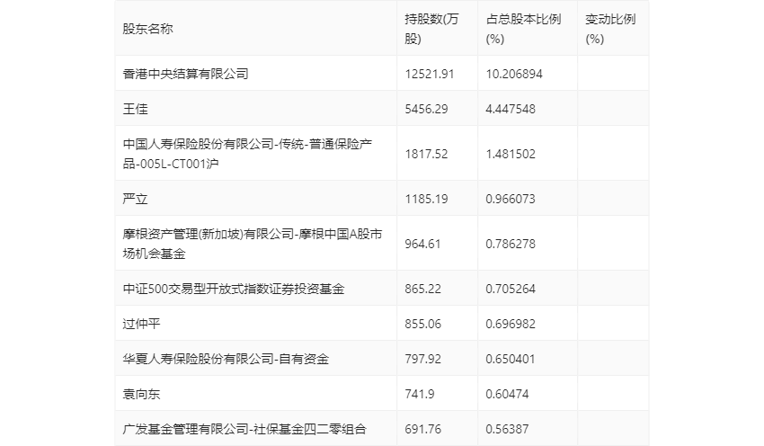
一季报显示,2024年一季度末公司十大流通股东中,新进股东为中证500交易型开放式指数证券投资基金,取代了上年末的安本亚洲有限公司-安本基金-中国A股可持续股票基金。在具体持股比例上,中国人寿保险股份有限公司-传统-普通保险产品-005L-CT001沪持股有所上升,香港中央结算有限公司、王佳、严立、摩根资产管理(新加坡)有限公司-摩根中国A股市场机会基金、过仲平、华夏人寿保险股份有限公司-自有资金、袁向东、广发基金管理有限公司-社保基金四二零组合持股有所下降。

筹码集中度方面,截至2024年一季度末,公司股东总户数为6.37万户,较上年末增长了2.2万户,增幅52.67%;户均持股市值由上年末的79.37万元下降至40.01万元,降幅为49.59%。
