龙虎榜 | 中粮资本今日涨停,知名游资作手新一净卖出1.01亿元

查股网  2024-10-30 20:37  中粮资本(002423)个股分析

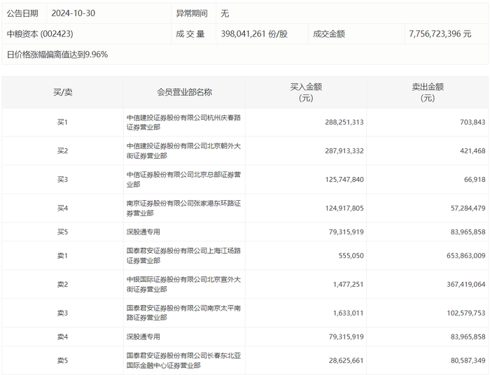
中粮资本今日涨停,龙虎榜数据显示,上榜营业部席位全天成交22.85亿元,占当日总成交金额比例为29.46%。其中,买入金额为9.38亿元,卖出金额为13.47亿元,合计净卖出4.08亿元。

具体来看,知名游资现身龙虎榜,作手新一(国泰君安证券股份有限公司南京太平南路证券营业部)净卖出1.01亿元。此外,中信建投证券杭州庆春路证券营业部、中信建投证券北京朝外大街证券营业部分别买入2.88亿元、2.88亿元;国泰君安证券上海江场路证券营业部、中银国际证券北京宣外大街证券营业部分别卖出6.54亿元、3.67亿元。