龙虎榜 | 中粮资本今日涨停,孙哥净买入9256.55万元

查股网  2024-10-29 20:51  中粮资本(002423)个股分析

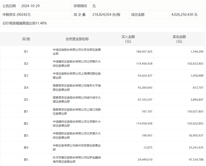
中粮资本今日涨停,龙虎榜数据显示,上榜营业部席位全天成交9.98亿元,占当日总成交金额比例为24.79%。其中,买入金额为5.8亿元,卖出金额为4.18亿元,合计净买入1.63亿元。

具体来看,知名游资现身龙虎榜,孙哥(中信证券股份有限公司上海溧阳路证券营业部)净买入9256.55万元、作手新一(国泰君安证券股份有限公司南京太平南路证券营业部)净买入9245.63万元。此外,中信证券北京总部证券营业部、中信建投证券北京朝外大街证券营业部分别买入1.87亿元、1.14亿元;国泰君安证券上海江场路证券营业部、中信建投证券北京朝外大街证券营业部分别卖出1.50亿元、1.03亿元。