龙虎榜丨雷科防务今日涨停,机构合计净买入1851.56万元

http://ddx.gubit.cn  2023-11-13 16:53  雷科防务(002413)公司分析

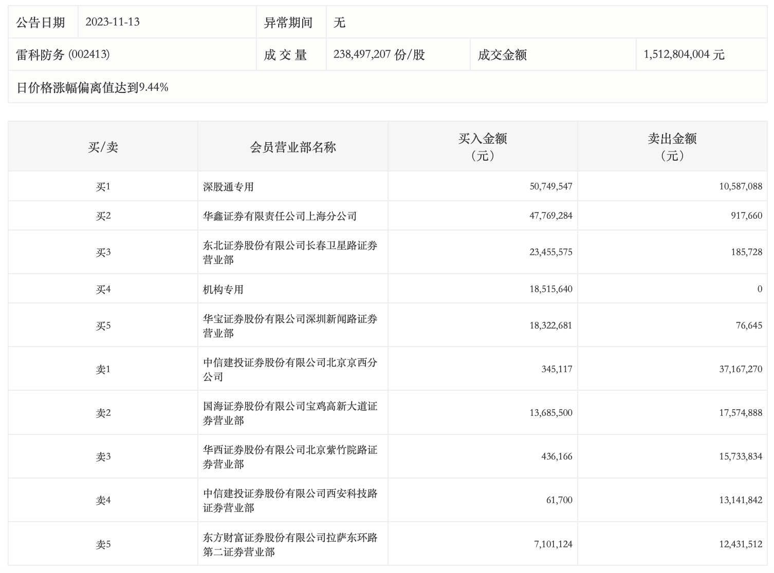
11月13日,雷科防务今日涨停,全天换手率达19.07%,振幅达10.36%。龙虎榜数据显示,营业部席位合计净买入7262.59万元。其中,机构合计净买入1851.56万元。此外,深股通专用、华鑫证券上海分公司分别买入5074.95万元、4776.93万元;中信建投证券北京京西分公司、国海证券宝鸡高新大道证券营业部分别卖出3716.73万元、1757.49万元。