龙虎榜丨远东传动今日跌停,章盟主净卖出2290.86万元

http://ddx.gubit.cn  2023-09-28 22:49  远东传动(002406)公司分析

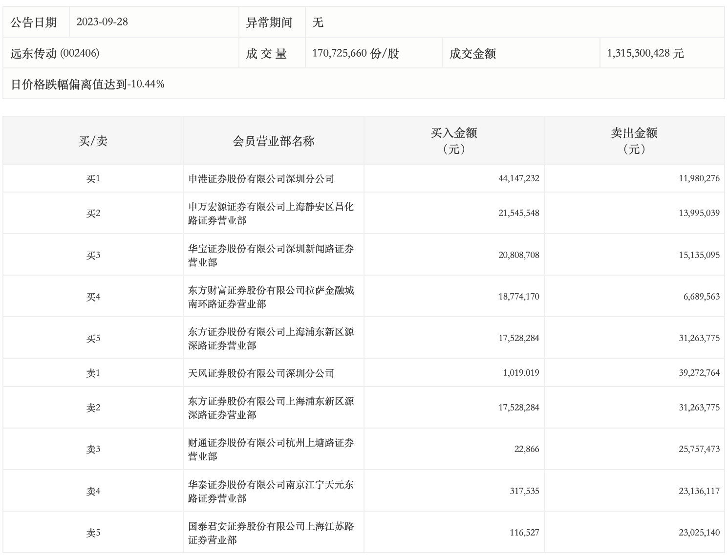
9月28日,远东传动今日跌停,龙虎榜数据显示,上榜营业部席位全天成交3.15亿元,占当日总成交金额比例为23.91%。其中,买入金额为1.24亿元,卖出金额为1.9亿元,合计净卖出6597.54万元。

具体来看,知名游资现身龙虎榜,章盟主(国泰君安证券股份有限公司上海江苏路证券营业部)净卖出2290.86万元。此外,天风证券深圳分公司、东方证券上海浦东新区源深路证券营业部分别卖出3927.28万元、3126.38万元;申港证券深圳分公司、申万宏源证券有限公司上海静安区昌化路证券营业部分别买入4414.72万元、2154.55万元。