ST升达:2024年第一季度净利润410.10万元 同比下降11.37%

中证智能财讯 ST升达(002259)4月29日披露2024年一季报。2024年第一季度,公司实现营业总收入1.51亿元,同比下降28.51%;归母净利润410.10万元,同比下降11.37%;扣非净利润870.92万元,同比下降0.87%;经营活动产生的现金流量净额为1703.67万元,同比下降61.69%;报告期内,ST升达基本每股收益为0.0055元,加权平均净资产收益率为1.66%。


2024年第一季度,公司毛利率为16.25%,同比上升1.86个百分点;净利率为2.43%,较上年同期上升0.48个百分点。

数据显示,2024年第一季度公司加权平均净资产收益率为1.66%,较上年同期下降0.23个百分点;公司2024年第一季度投入资本回报率为1.43%,较上年同期增长0.20个百分点。

2024年第一季度,公司经营活动现金流净额为1703.67万元,同比下降61.69%;筹资活动现金流净额-16.62万元,同比增加971.21万元;投资活动现金流净额-19.11万元,上年同期为-24.86万元。

2024年第一季度,公司营业收入现金比为110.42%,净现比为415.43%。

资产重大变化方面,截至2024年一季度末,公司固定资产较上年末减少2.49%,占公司总资产比重下降1.75个百分点;货币资金较上年末增加7.57%,占公司总资产比重上升1.75个百分点;应收账款较上年末增加229.46%,占公司总资产比重上升0.67个百分点;存货较上年末减少15.74%,占公司总资产比重下降0.38个百分点。

负债重大变化方面,截至2024年一季度末,公司预计负债较上年末增加1.19%,占公司总资产比重上升0.19个百分点;应付职工薪酬较上年末减少12.11%,占公司总资产比重下降0.26个百分点;应付账款较上年末增加1.74%,占公司总资产比重上升0.03个百分点;合同负债较上年末减少2.04%,占公司总资产比重下降0.04个百分点。

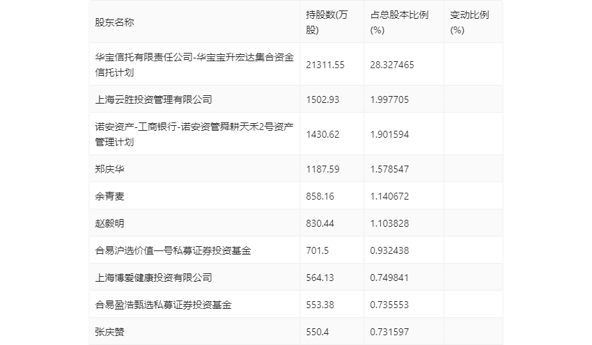
一季报显示,2024年一季度末公司十大流通股东中,新进股东为合易盈浩甄选私募证券投资基金、张庆赞,取代了上年末的陈龙、合易盈浩价值成长私募证券投资基金。在具体持股比例上,郑庆华持股有所上升,上海云胜投资管理有限公司、合易沪选价值一号私募证券投资基金持股有所下降。

筹码集中度方面,截至2024年一季度末,公司股东总户数为1.54万户,较上年末下降了165户,降幅1.06%;户均持股市值由上年末的16.53万元下降至16.51万元,降幅为0.12%。
