天威视讯:2024年上半年净利润1501.66万元 同比下降76.19%

中证智能财讯 天威视讯(002238)8月23日披露2024年半年度报告。2024年上半年,公司实现营业收入6.24亿元,同比增长0.27%;归母净利润1501.66万元,同比下降76.19%;扣非净利润亏损702.61万元,上年同期盈利2083.31万元;经营活动产生的现金流量净额为1.23亿元,同比下降32.57%;报告期内,天威视讯基本每股收益为0.02元,加权平均净资产收益率为0.64%。

以8月22日收盘价计算,天威视讯目前市盈率(TTM)约为72.95倍,市净率(LF)约为2.46倍,市销率(TTM)约为3.8倍。

公司近年市盈率(TTM)、市净率(LF)、市销率(TTM)历史分位图如下所示:



根据半年报,公司第二季度实现营业总收入3.55亿元,同比增长8.32%,环比增长32.15%;归母净利润1254.99万元,同比下降71.70%,环比增长408.76%;扣非净利润239.66万元,同比下降78.14%,环比增长125.43%。

资料显示,公司主营业务为公众业务、政企业务、数据中心、电视购物业务及商业地产业务。
分产品来看,2024年上半年公司主营业务中,有线电视服务收入5.80亿元,同比增长2.61%,占营业收入的92.99%;电视购物收入0.22亿元,同比下降34.75%,占营业收入的3.52%。

2024年上半年,公司毛利率为26.63%,同比下降4.89个百分点;净利率为2.13%,较上年同期下降7.22个百分点。从单季度指标来看,2024年第二季度公司毛利率为24.47%,同比下降6.83个百分点,环比下降5.02个百分点;净利率为3.46%,较上年同期下降9.38个百分点,较上一季度上升3.09个百分点。

数据显示,2024年上半年公司加权平均净资产收益率为0.64%,较上年同期下降2.06个百分点;公司2024年上半年投入资本回报率为0.33%,较上年同期下降1.61个百分点。

2024年上半年,公司经营活动现金流净额为1.23亿元,同比下降32.57%;筹资活动现金流净额-3163.27万元,同比减少1.71亿元,主要系本年新增贷款减少以及偿还往期贷款所致;投资活动现金流净额-1.68亿元,上年同期为-5.48亿元,主要系本年购建IDC机房等长期资产支出减少所致。
进一步统计发现,2024年上半年公司自由现金流为-1.44亿元,上年同期为-4.42亿元。

2024年上半年,公司营业收入现金比为115.20%,净现比为817.69%。

营运能力方面,2024年上半年,公司公司总资产周转率为0.15次,上年同期为0.15次(2023年上半年行业平均值为0.11次,公司位居同行业4/14);固定资产周转率为0.46次,上年同期为0.60次(2023年上半年行业平均值为0.76次,公司位居同行业5/14);公司应收账款周转率、存货周转率分别为3.23次、16.98次。

2024年上半年,公司期间费用为1.71亿元,较上年同期减少60.68万元;期间费用率为27.38%,较上年同期下降0.17个百分点。其中,销售费用同比增长5.55%,管理费用同比下降3.73%,研发费用同比增长3.27%,财务费用由去年同期的-384.29万元变为-333.87万元。
资料显示,财务费用的变动主要因为本年借款利息费用增加。

资产重大变化方面,截至2024年上半年末,公司在建工程较上年末减少79.76%,占公司总资产比重下降7.10个百分点;固定资产较上年末增加20.14%,占公司总资产比重上升6.77个百分点;交易性金融资产较上年末增加725.95%,占公司总资产比重上升3.70个百分点;货币资金较上年末减少7.42%,占公司总资产比重下降1.02个百分点。

负债重大变化方面,截至2024年上半年末,公司应付账款较上年末减少13.38%,占公司总资产比重下降1.51个百分点;短期借款较上年末增加30.19%,占公司总资产比重上升2.07个百分点;应付职工薪酬较上年末减少72.82%,占公司总资产比重下降1.35个百分点;合同负债较上年末增加4.52%,占公司总资产比重上升0.69个百分点。

从存货变动来看,截至2024年上半年末,公司存货账面价值为2460.18万元,占净资产的1.08%,较上年末减少469.2万元。其中,存货跌价准备为96.58万元,计提比例为3.78%。

在偿债能力方面,公司2024年上半年末资产负债率为44.56%,相比上年末下降0.16个百分点;有息资产负债率为12.27%,相比上年末上升2.20个百分点。

2024年上半年,公司流动比率为0.96,速动比率为0.94。

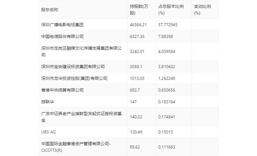
半年报显示,2024年上半年末公司十大流通股东中,新进股东为游联华、广发中证养老产业指数型发起式证券投资基金、UBS AG、中国国际金融香港资产管理有限公司-CICCFT3(R),取代了一季度末的温瑜、谭广照、申可民、深圳市中金联合实业开发有限公司。在具体持股比例上,深圳市宝安建设投资集团有限公司、香港中央结算有限公司持股有所上升。

筹码集中度方面,截至2024年上半年末,公司股东总户数为4.69万户,较一季度末下降了1.51万户,降幅24.36%;户均持股市值由一季度末的14.50万元下降至13.44万元,降幅为7.31%。

指标注解:
市盈率
=总市值/净利润。当公司亏损时市盈率为负,此时用市盈率估值没有实际意义,往往用市净率或市销率做参考。
市净率
=总市值/净资产。市净率估值法多用于盈利波动较大而净资产相对稳定的公司。
市销率
=总市值/营业收入。市销率估值法通常用于亏损或微利的成长型公司。
文中市盈率和市销率采用TTM方式,即以截至最近一期财报(含预报)12个月的数据计算。市净率采用LF方式,即以最近一期财报数据计算。
市盈率为负时,不显示当期分位数,会导致折线图中断。