海南发展:2024年第一季度亏损2931.27万元

中证智能财讯 海南发展(002163)4月26日披露2024年一季报。2024年第一季度,公司实现营业总收入7.82亿元,同比增长4.67%;归母净利润亏损2931.27万元,上年同期亏损3406.22万元;扣非净利润亏损3082.87万元,上年同期亏损3474.73万元;经营活动产生的现金流量净额为-3.51亿元,上年同期为-2.68亿元;报告期内,海南发展基本每股收益为-0.03元,加权平均净资产收益率为-2.05%。

2024年第一季度,公司毛利率为5.66%,同比上升1.42个百分点;净利率为-4.97%,较上年同期上升1.04个百分点。

数据显示,2024年第一季度公司加权平均净资产收益率为-2.05%,较上年同期增长0.52个百分点;公司2024年第一季度投入资本回报率为-1.93%,较上年同期增长0.35个百分点。

2024年第一季度,公司经营活动现金流净额为-3.51亿元,同比减少8302.26万元;筹资活动现金流净额7190.44万元,同比增加3104.65万元;投资活动现金流净额-407.07万元,上年同期为-965.15万元。

2024年第一季度,公司营业收入现金比为86.77%。

资产重大变化方面,截至2024年一季度末,公司货币资金较上年末减少26.69%,占公司总资产比重下降4.72个百分点;合同资产较上年末增加11.12%,占公司总资产比重上升2.90个百分点;其他流动资产较上年末增加44.19%,占公司总资产比重上升0.43个百分点;递延所得税资产较上年末增加3.03%,占公司总资产比重上升0.32个百分点。

负债重大变化方面,截至2024年一季度末,公司应付账款较上年末减少13.70%,占公司总资产比重下降3.75个百分点;应付票据较上年末增加15.58%,占公司总资产比重上升2.18个百分点;短期借款较上年末增加14.40%,占公司总资产比重上升1.33个百分点;一年内到期的非流动负债较上年末增加42.99%,占公司总资产比重上升0.80个百分点。

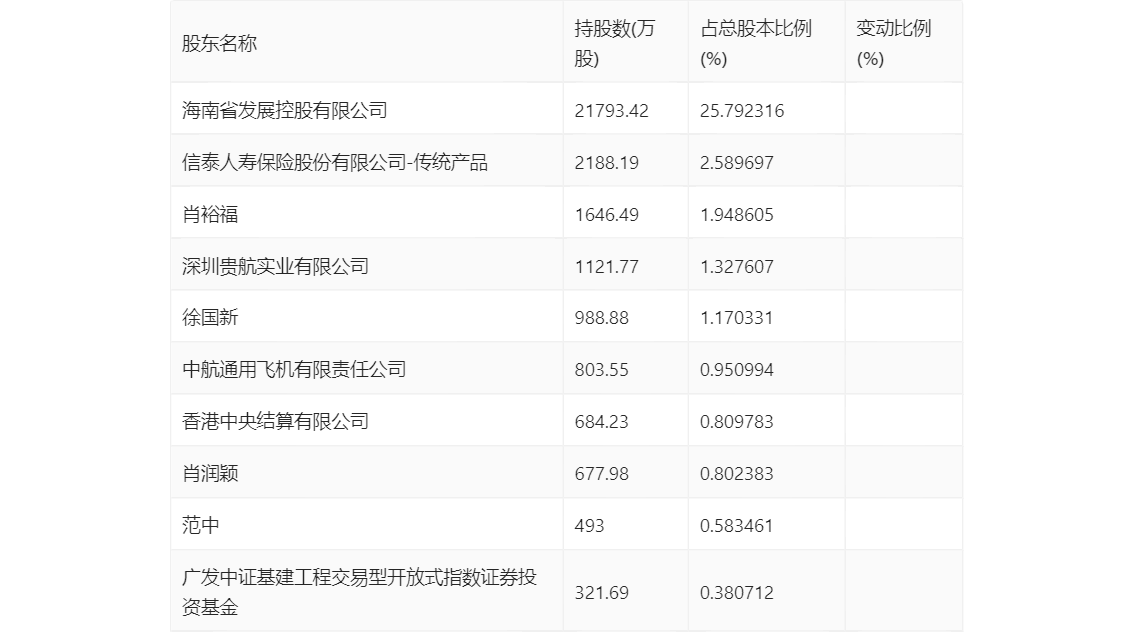
一季报显示,2024年一季度末公司十大流通股东中,持股最多的为海南省发展控股有限公司,占比25.79%。十大流通股东名单相比2023年年报维持不变。在具体持股比例上,徐国新、范中持股有所上升,香港中央结算有限公司、广发中证基建工程交易型开放式指数证券投资基金持股有所下降。

筹码集中度方面,截至2024年一季度末,公司股东总户数为5.35万户,较上年末下降了1057户,降幅1.94%;户均持股市值由上年末的14.06万元下降至12.59万元,降幅为10.46%。
