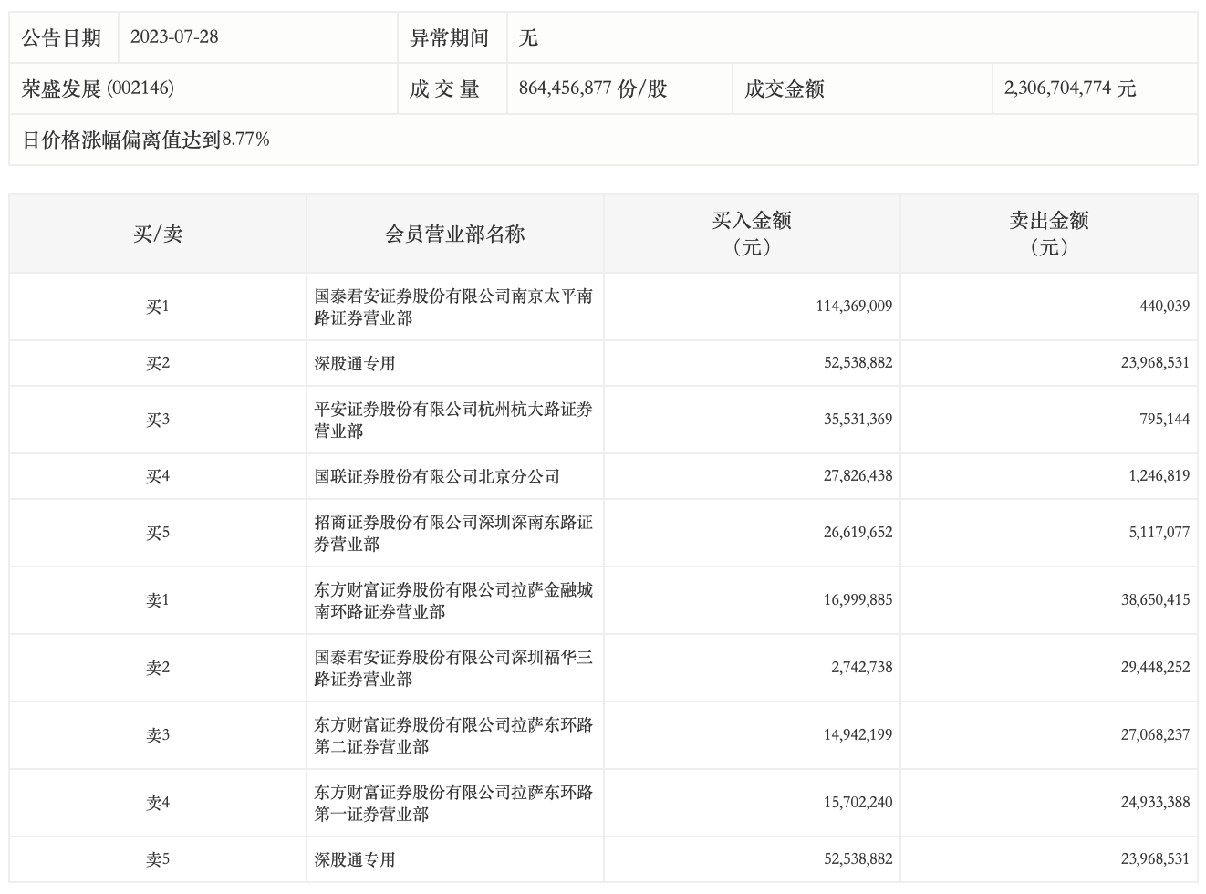
龙虎榜丨荣盛发展今日涨停,知名游资作手新一买入1.14亿元并卖出44万元

http://ddx.gubit.cn  2023-07-28 22:30  荣盛发展(002146)公司分析

7月28日,荣盛发展今日涨停,龙虎榜数据显示,上榜营业部席位全天成交4.59亿元,占当日总成交金额比例为19.9%。其中,买入金额为3.07亿元,卖出金额为1.52亿元,合计净买入1.56亿元。

具体来看,知名游资现身龙虎榜,作手新一(国泰君安证券南京太平南路证券营业部)、深股通专用分别买入1.14亿元、5253.89万元;东方财富证券拉萨金融城南环路证券营业部、国泰君安证券深圳福华三路证券营业部分别卖出3865.04万元、2944.83万元。