龙虎榜丨沃尔核材今日涨停,机构合计净卖出1.56亿元

查股网  2024-10-22 21:16  沃尔核材(002130)个股分析

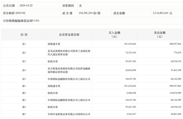
10月22日,沃尔核材今日涨停,龙虎榜数据显示,上榜营业部席位全天成交11.24亿元,占当日总成交金额比例为21.97%。其中,买入金额为4.66亿元,卖出金额为6.58亿元,合计净卖出1.91亿元。

具体来看,机构买入6155.32万元,卖出2.18亿元,合计净卖出1.56亿元。此外,深股通专用、东吴证券苏州工业园区现代大道证券营业部分别买入2.51亿元、7251.04万元;深股通专用、中国国际金融上海分公司分别卖出2.90亿元、6812.26万元。