龙虎榜 | 东华软件今日跌8.74%,宁波桑田路净买入9901.04万元

查股网  2025-02-25 21:08  东华软件(002065)个股分析

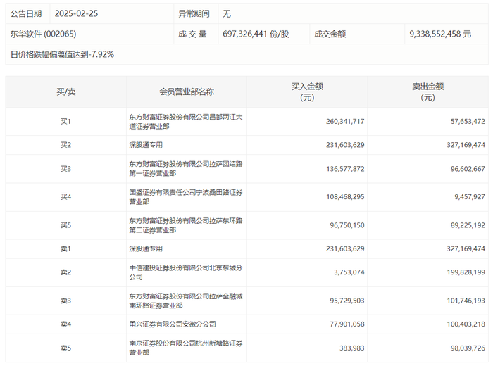
东华软件2月25日跌8.74%,龙虎榜数据显示,上榜营业部席位全天成交20.92亿元,占当日总成交金额比例为22.4%。其中,买入金额为10.12亿元,卖出金额为10.8亿元,合计净卖出6861.68万元。

具体来看,知名游资现身龙虎榜,宁波桑田路(国盛证券有限责任公司宁波桑田路证券营业部)净买入9901.04万元。此外,深股通专用、中信建投证券北京东城分公司分别卖出3.27亿元、2.00亿元;东方财富证券昌都两江大道证券营业部、深股通专用分别买入2.60亿元、2.32亿元。