查股网.CN
首页
选股
热点
资金
板块
大盘
DDX
游资
龙虎
导航
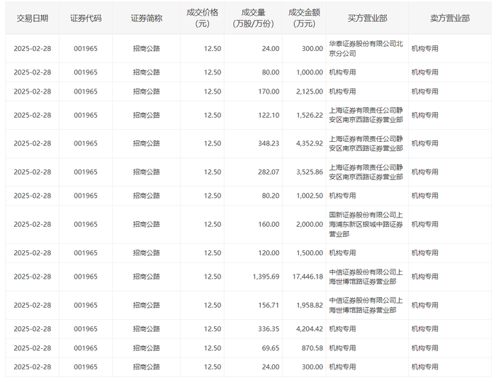
招商公路今日大宗交易折价成交3369万股,成交额4.21亿元
招商公路今日大宗交易折价成交3369万股,成交额4.21亿元
查股网
2025-02-28 20:05
招商公路(001965)个股分析
招商公路
2月28日大宗交易成交3369万股,成交额4.21亿元,占当日总成交额的58.53%,成交价12.5元,较市场收盘价13.79元折价9.35%。