龙虎榜丨腾达科技今日涨停,知名游资赵老哥净卖出390.31万元

查股网  2024-08-01 21:17  腾达科技(001379)个股分析

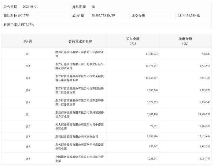
8月1日,腾达科技今日涨停,龙虎榜数据显示,上榜营业部席位全天成交1.77亿元,占当日总成交金额比例为15.93%。其中,买入金额为7547.91万元,卖出金额为1.02亿元,合计净卖出2646.96万元。

具体来看,知名游资现身龙虎榜,赵老哥(中国银河证券股份有限公司绍兴证券营业部)净卖出390.31万元。此外,财通证券普陀山证券营业部、东方证券上海静安区延平路证券营业部分别买入1738.35万元、1437.30万元;东亚前海证券苏州留园路证券营业部、光大证券昆明人民中路证券营业部分别卖出2468.02万元、1581.45万元。