龙虎榜丨楚环科技今日跌停,机构合计净卖出635.43万元

http://ddx.gubit.cn  2023-07-20 16:38  楚环科技(001336)公司分析

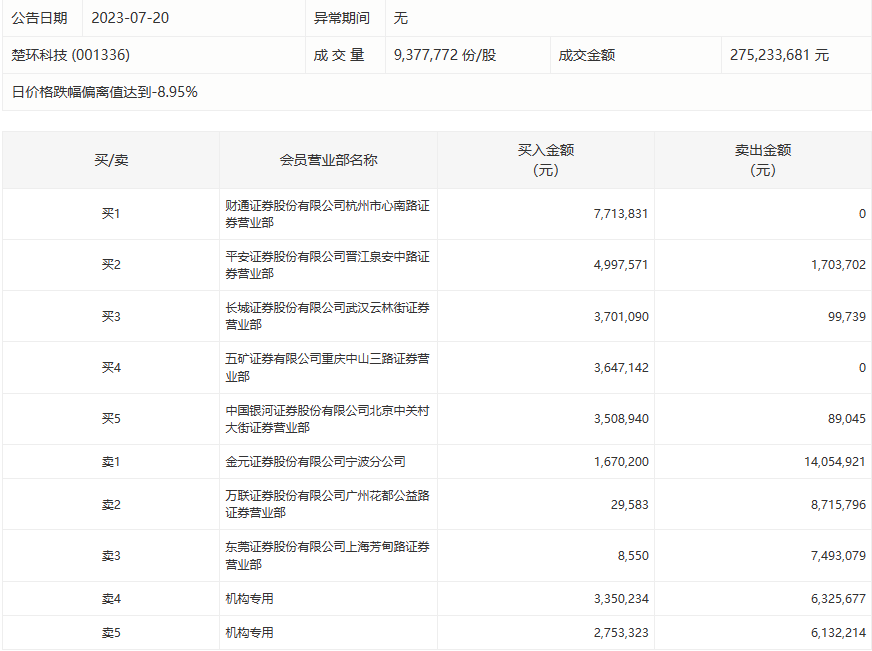
7月20日,楚环科技今日跌停,龙虎榜数据显示,上榜营业部席位全天成交7599.46万元,占当日总成交金额比例为27.61%。其中,买入金额为3138.05万元,卖出金额为4461.42万元,合计净卖出1323.37万元。

具体来看,机构买入610.36万元,卖出1245.79万元,合计净卖出635.43万元。此外,金元证券宁波分公司、万联证券广州花都公益路证券营业部分别卖出1405.49万元、871.58万元;财通证券杭州市心南路证券营业部、平安证券晋江泉安中路证券营业部分别买入771.38万元、499.76万元。