龙虎榜丨中电港今日跌停,深股通专用买入3804.39万元并卖出1068.26万元

http://ddx.gubit.cn  2023-06-26 16:52  中电港(001287)公司分析

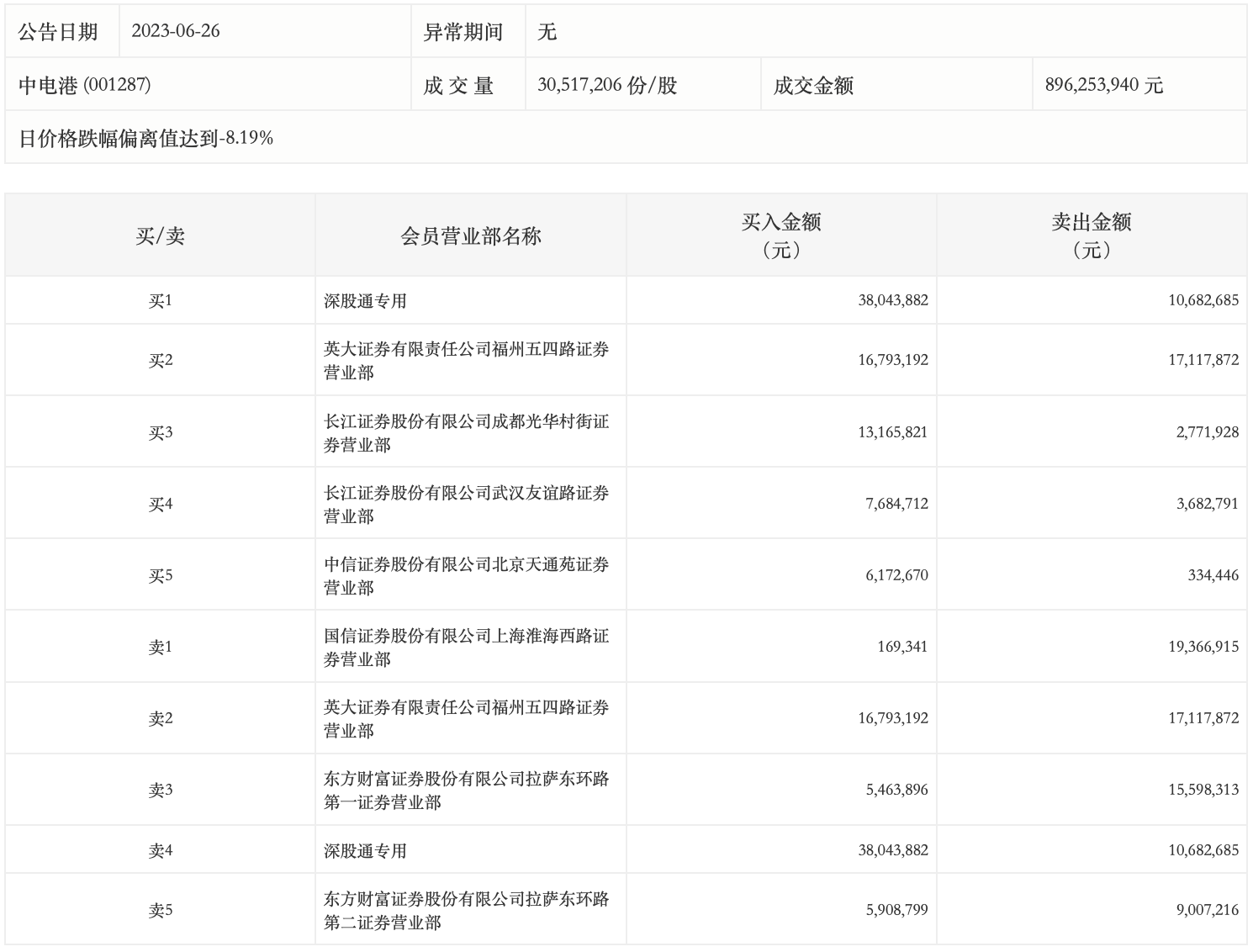
6月26日,中电港今日跌停,龙虎榜数据显示,上榜营业部席位全天成交1.72亿元,占当日总成交金额比例为19.19%。其中,买入金额为9340.23万元,卖出金额为7856.22万元,合计净买入1484.01万元。

具体来看,国信证券上海淮海西路证券营业部、英大证券福州五四路证券营业部分别卖出1936.69万元、1711.79万元;深股通专用、英大证券福州五四路证券营业部分别买入3804.39万元、1679.32万元。