龙虎榜丨北京文化今日跌停,机构合计净卖出376.01万元

http://ddx.gubit.cn  2023-07-21 16:55  北京文化(000802)公司分析

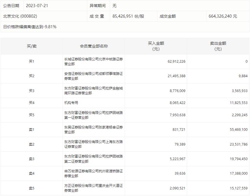
7月21日,北京文化今日跌停,龙虎榜数据显示,上榜营业部席位全天成交2.66亿元,占当日总成交金额比例为40.11%。其中,买入金额为1.17亿元,卖出金额为1.49亿元,合计净卖出3154.66万元。

具体来看,机构买入806.54万元,卖出1182.56万元,合计净卖出376.01万元。此外,东吴证券张家港杨舍证券营业部、东方财富证券上海东方路证券营业部分别卖出5546.91万元、2353.18万元;长城证券北京中核路证券营业部、安信证券成都领事馆路证券营业部分别买入6291.22万元、2149.54万元。