龙虎榜丨锌业股份今日涨停,机构合计净卖出96.41万元

http://ddx.gubit.cn  2023-04-11 16:34  锌业股份(000751)公司分析

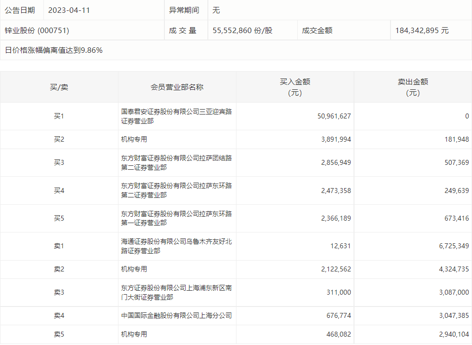
4月11日,锌业股份今日涨停,龙虎榜数据显示,上榜营业部席位全天成交8787.81万元,占当日总成交金额比例为47.67%。其中,买入金额为6614.12万元,卖出金额为2173.69万元,合计净买入4440.42万元。

具体来看,机构买入648.26万元,卖出744.68万元,合计净卖出96.41万元。此外,国泰君安证券三亚迎宾路证券营业部、东方财富证券拉萨团结路第二证券营业部分别买入5096.16万元、285.69万元;海通证券乌鲁木齐友好北路证券营业部、东方证券上海浦东新区南门大街证券营业部分别卖出672.53万元、308.70万元。