查股网.CN
首页
选股
热点
资金
板块
大盘
DDX
游资
龙虎
导航
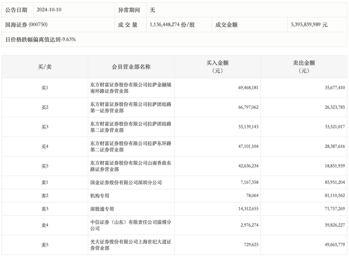
龙虎榜丨国海证券今日跌停,一机构净卖出8103.25万元
龙虎榜丨国海证券今日跌停,一机构净卖出8103.25万元
查股网
2024-10-10 20:39
国海证券(000750)个股分析
10月10日,
国海证券
今日跌停,成交额53.96亿元,换手率19.61%,盘后龙虎榜数据显示,深股通专用席位买入1431.27万元并卖出7175.73万元,一机构净卖出8103.25万元。