龙虎榜丨国海证券今日涨停,机构合计净卖出1341.15万元

http://ddx.gubit.cn  2023-07-28 22:44  国海证券(000750)公司分析

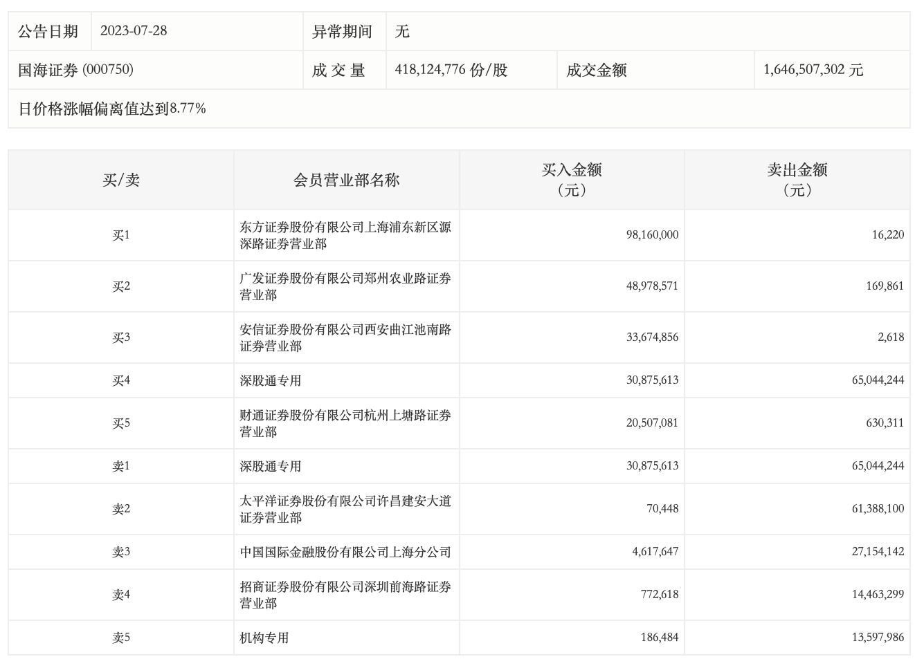
7月28日,国海证券今日涨停,龙虎榜数据显示,上榜营业部席位全天成交4.2亿元,占当日总成交金额比例为25.53%。其中,买入金额为2.38亿元,卖出金额为1.82亿元,合计净买入5537.65万元。

具体来看,机构买入18.65万元,卖出1359.8万元,合计净卖出1341.15万元。此外,东方证券上海浦东新区源深路证券营业部、广发证券郑州农业路证券营业部分别买入9816.00万元、4897.86万元;深股通专用、太平洋证券许昌建安大道证券营业部分别卖出6504.42万元、6138.81万元。