龙虎榜丨智度股份今日涨停,深股通专用买入3316.93万元并卖出9289.07万元

http://ddx.gubit.cn  2023-03-24 22:53  智度股份(000676)公司分析

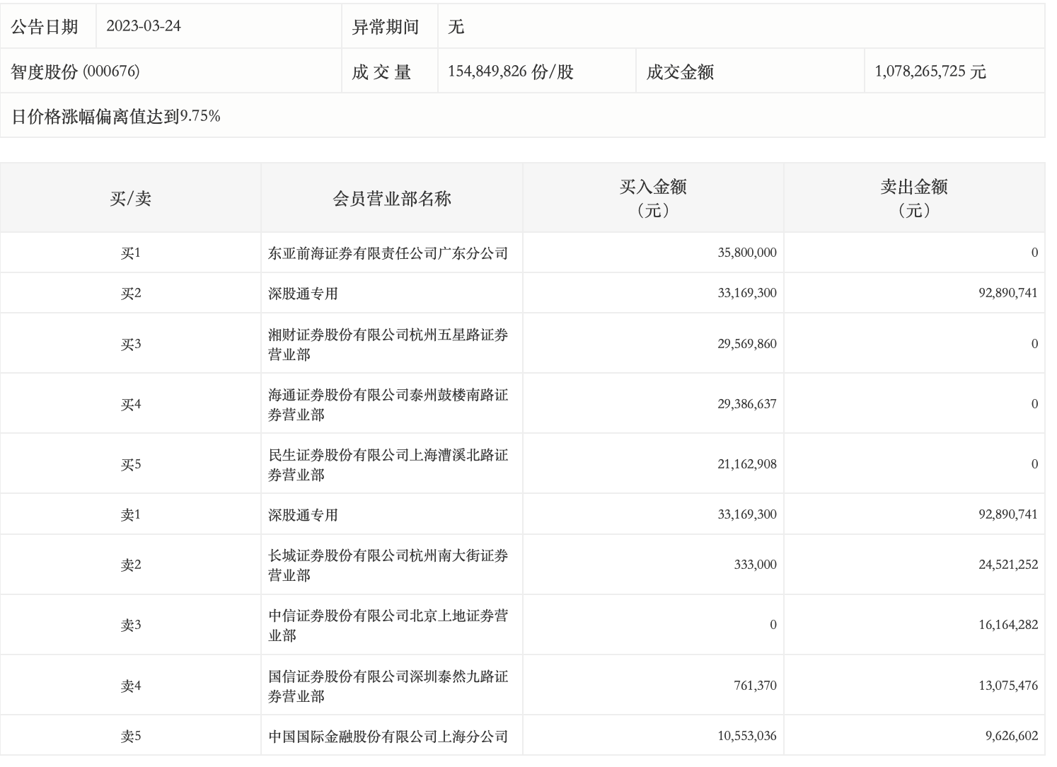
3月24日,智度股份今日涨停,龙虎榜数据显示,上榜营业部席位全天成交3.17亿元,占当日总成交金额比例为29.4%。其中,买入金额为1.61亿元,卖出金额为1.56亿元,合计净买入445.78万元。

具体来看,东亚前海证券广东分公司、深股通专用分别买入3580.00万元、3316.93万元;深股通专用、长城证券杭州南大街证券营业部分别卖出9289.07万元、2452.13万元。