龙虎榜丨金科股份今日涨停,机构合计净买入3494.07万元

查股网  2023-12-21 20:12  金科股份(000656)个股分析

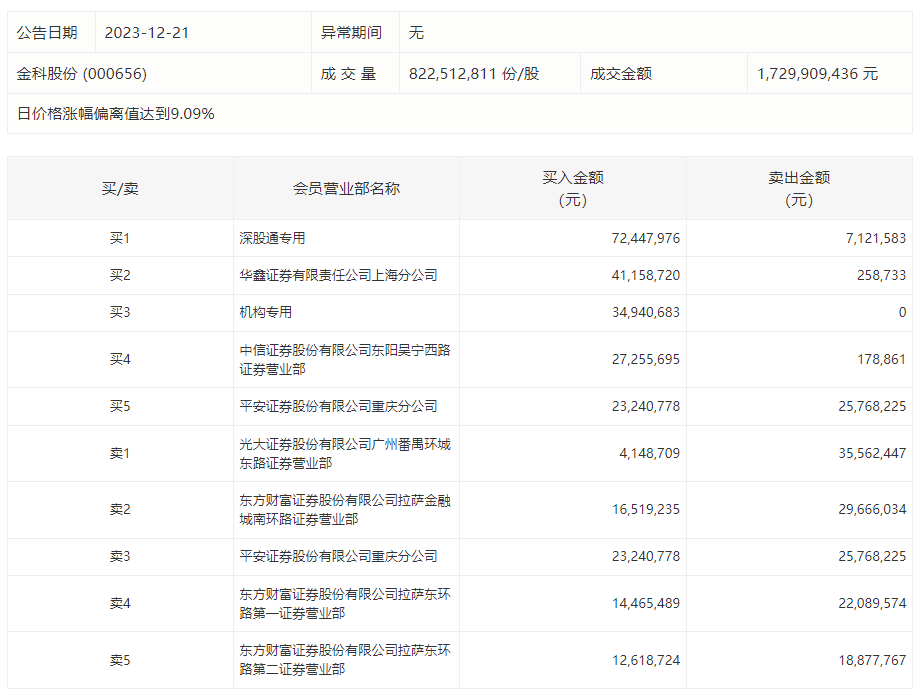
12月21日,金科股份今日涨停,全天换手率达15.49%,振幅达11.28%。龙虎榜数据显示,营业部席位合计净买入1.07亿元。其中,机构合计净买入3494.07万元。此外,深股通专用、华鑫证券上海分公司分别买入7244.80万元、4115.87万元;光大证券广州番禺环城东路证券营业部、东方财富证券拉萨金融城南环路证券营业部分别卖出3556.24万元、2966.60万元。