龙虎榜丨金科股份今日涨停,机构合计净买入1559.59万元

查股网  2023-11-23 19:30  金科股份(000656)个股分析

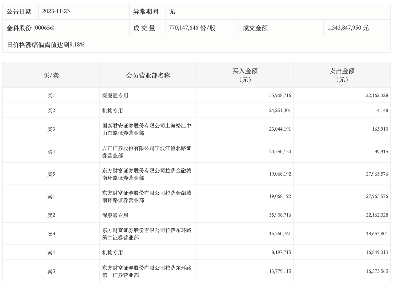
11月23日,金科股份今日涨停,全天换手率达14.51%,振幅达13.17%。龙虎榜数据显示,营业部席位合计净买入7774.79万元。其中,机构买入3244.9万元,卖出1685.32万元,合计净买入1559.59万元。此外,深股通专用、国泰君安证券上海松江中山东路证券营业部分别买入5590.87万元、2304.42万元;东方财富证券拉萨金融城南环路证券营业部、深股通专用分别卖出2796.56万元、2216.23万元。