龙虎榜丨金科股份今日涨7.44%,机构合计净卖出6783.46万元

http://ddx.gubit.cn  2023-07-28 22:37  金科股份(000656)公司分析

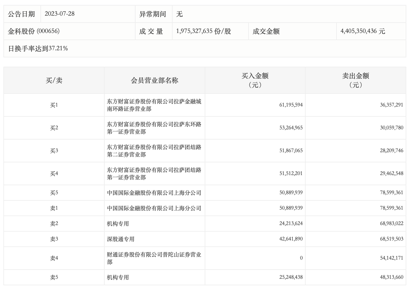
7月28日,金科股份今日涨7.44%,龙虎榜数据显示,上榜营业部席位全天成交8.03亿元,占当日总成交金额比例为18.24%。其中,买入金额为3.61亿元,卖出金额为4.43亿元,合计净卖出8181.34万元。

具体来看,机构买入4946.21万元,卖出1.17亿元,合计净卖出6783.46万元。此外,东方财富证券拉萨金融城南环路证券营业部、东方财富证券拉萨东环路第一证券营业部分别买入6119.56万元、5326.50万元;中国国际金融上海分公司、深股通专用分别卖出7859.94万元、6851.95万元。