吉林敖东:2024年第一季度净利润1.44亿元 同比下降70.43%

中证智能财讯 吉林敖东(000623)4月30日披露2024年一季报。2024年第一季度,公司实现营业总收入8.61亿元,同比增长9.35%;归母净利润1.44亿元,同比下降70.43%;扣非净利润2.78亿元,同比下降37.51%;经营活动产生的现金流量净额为-1275.11万元,上年同期为-2.30亿元;报告期内,吉林敖东基本每股收益为0.1277元,加权平均净资产收益率为0.52%。

2024年第一季度,公司毛利率为38.56%,同比下降8.98个百分点;净利率为15.40%,较上年同期下降46.87个百分点。

数据显示,2024年第一季度公司加权平均净资产收益率为0.52%,较上年同期下降1.33个百分点;公司2024年第一季度投入资本回报率为0.44%,较上年同期下降1.29个百分点。

2024年第一季度,公司经营活动现金流净额为-1275.11万元,同比增加2.17亿元;筹资活动现金流净额1339.65万元,同比增加1387.30万元;投资活动现金流净额-8859.34万元,上年同期为-9310.85万元。

2024年第一季度,公司营业收入现金比为95.71%,净现比为-8.88%。

资产重大变化方面,截至2024年一季度末,公司应收账款较上年末增加30.68%,占公司总资产比重上升0.92个百分点;应收款项融资较上年末减少62.80%,占公司总资产比重下降0.78个百分点;交易性金融资产较上年末减少12.81%,占公司总资产比重下降0.70个百分点;长期股权投资较上年末增加1.92%,占公司总资产比重上升0.70个百分点。

负债重大变化方面,截至2024年一季度末,公司一年内到期的非流动负债较上年末减少99.22%,占公司总资产比重下降7.17个百分点;短期借款较上年末增加146.02%,占公司总资产比重上升3.03个百分点;其他流动负债较上年末增加12234.33%,占公司总资产比重上升1.23个百分点;应付账款较上年末减少28.58%,占公司总资产比重下降0.37个百分点。

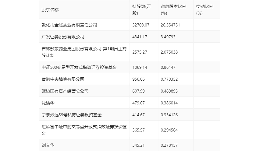
一季报显示,2024年一季度末公司十大流通股东中,新进股东为宁泉致远59号私募证券投资基金、汇添富中证中药交易型开放式指数证券投资基金,取代了上年末的广发证券股份有限公司、吉林敖东药业集团股份有限公司-第1期员工持股计划、香港中央结算有限公司、深圳市金华盛世咨询管理有限公司、中国人寿保险股份有限公司-传统-普通保险产品-005L-CT001沪。在具体持股比例上,中证500交易型开放式指数证券投资基金持股有所上升,敦化市金诚实业有限责任公司、延边国有资产经营总公司、沈洁华、刘文华持股有所下降。

筹码集中度方面,截至2024年一季度末,公司股东总户数为7.76万户,较上年末增长了6054户,增幅8.47%;户均持股市值由上年末的24.74万元下降至23.14万元,降幅为6.47%。
