藏格矿业:2024年上半年净利润同比下降35.99% 拟10派2.6元

中证智能财讯 藏格矿业(000408)8月10日披露2024年半年度报告。2024年上半年,公司实现营业收入17.62亿元,同比下降37%;归母净利润12.97亿元,同比下降35.99%;扣非净利润12.78亿元,同比下降36.1%;经营活动产生的现金流量净额为3.52亿元,同比下降72.85%;报告期内,藏格矿业基本每股收益为0.8258元,加权平均净资产收益率为9.84%。公司2024年半年度分配预案为:拟向全体股东每10股派现2.6元(含税)。
公告称,公司营业收入变化主要由于氯化钾、碳酸锂产品的销售价格同比下降,氯化钾销量同比下降。

以8月9日收盘价计算,藏格矿业目前市盈率(TTM)约为13.0倍,市净率(LF)约为2.67倍,市销率(TTM)约为8.35倍。

公司近年市盈率(TTM)、市净率(LF)、市销率(TTM)历史分位图如下所示:



根据半年报,公司第二季度实现营业总收入11.47亿元,同比下降19.36%,环比增长86.76%;归母净利润7.68亿元,同比下降30.56%,环比增长45.05%;扣非净利润7.0亿元,同比下降35.49%,环比增长21.11%。

资料显示,公司专注于国家战略性矿产资源钾锂的投资和开发,以及氯化钾、电池级碳酸锂产品的生产和销售。
2024年上半年,公司毛利率为49.07%,同比下降22.10个百分点;净利率为73.33%,较上年同期上升0.96个百分点。从单季度指标来看,2024年第二季度公司毛利率为48.50%,同比下降24.70个百分点,环比下降1.64个百分点;净利率为66.65%,较上年同期下降10.88个百分点,较上一季度下降19.15个百分点。

数据显示,2024年上半年公司加权平均净资产收益率为9.84%,较上年同期下降6.32个百分点;公司2024年上半年投入资本回报率为9.80%,较上年同期下降6.36个百分点。

2024年上半年,公司经营活动现金流净额为3.52亿元,同比下降72.85%,主要系营业收入下降导致销售商品、提供劳务收到的现金下降所致;筹资活动现金流净额-10.74亿元,同比增加4.91亿元,主要系本期收到控股股东补偿款,并且本期分配股利同比减少所致;投资活动现金流净额-4871.24万元,上年同期为-9.99亿元,主要系投资活动现金流出减少的幅度大于现金流入减少的幅度所致。
进一步统计发现,2024年上半年公司自由现金流为13.40亿元,相比上年同期下降20.00%。

2024年上半年,公司营业收入现金比为127.75%,净现比为27.11%。

营运能力方面,2024年上半年,公司公司总资产周转率为0.13次,上年同期为0.21次(2023年上半年行业平均值为0.25次,公司位居同行业10/13);固定资产周转率为0.64次,上年同期为1.00次(2023年上半年行业平均值为1.78次,公司位居同行业11/13);公司应收账款周转率、存货周转率分别为30.96次、1.96次。

2024年上半年,公司期间费用为1.29亿元,较上年同期减少4200.04万元;但期间费用率为7.30%,较上年同期上升1.20个百分点。其中,销售费用同比下降2.98%,管理费用同比下降24.9%,研发费用同比下降70.37%,财务费用由去年同期的-1090.83万元变为-794.61万元。

资产重大变化方面,截至2024年上半年末,公司长期股权投资较上年末增加20.91%,占公司总资产比重上升6.80个百分点;货币资金较上年末减少48.63%,占公司总资产比重下降5.37个百分点;固定资产较上年末减少7.80%,占公司总资产比重下降1.23个百分点;其他应收款(含利息和股利)较上年末减少30.24%,占公司总资产比重下降0.65个百分点。

负债重大变化方面,截至2024年上半年末,公司应交税费较上年末减少68.26%,占公司总资产比重下降1.62个百分点;应付职工薪酬较上年末减少70.07%,占公司总资产比重下降0.28个百分点;合同负债较上年末增加27.83%,占公司总资产比重上升0.28个百分点;应付账款较上年末增加3.93%,占公司总资产比重上升0.15个百分点。

从存货变动来看,截至2024年上半年末,公司存货账面价值为4.17亿元,占净资产的3.17%,较上年末减少8142.48万元。其中,存货跌价准备为367.33万元,计提比例为0.87%。

在偿债能力方面,公司2024年上半年末资产负债率为5.17%,相比上年末下降2.22个百分点;有息资产负债率为0.06%,相比上年末基本持平。

2024年上半年,公司流动比率为3.23,速动比率为2.63。

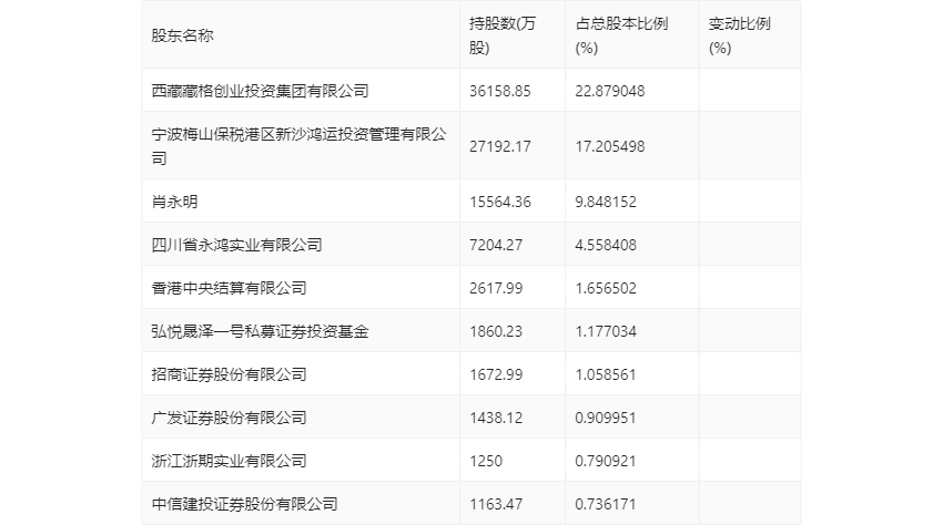
半年报显示,2024年上半年末公司十大流通股东中,持股最多的为西藏藏格创业投资集团有限公司,占比22.88%。十大流通股东名单相比2024年一季报维持不变。在具体持股比例上,弘悦晟泽一号私募证券投资基金、招商证券股份有限公司、广发证券股份有限公司持股有所上升,香港中央结算有限公司、中信建投证券股份有限公司持股有所下降。

值得注意的是,根据半年报数据,藏格矿业31.47%股份处于质押状态。其中,第一大股东西藏藏格创业投资集团有限公司质押3.42亿股公司股份,占其全部持股的94.49%。
筹码集中度方面,截至2024年上半年末,公司股东总户数为3.44万户,较一季度末增长了4384户,增幅14.61%;户均持股市值由一季度末的166.03万元下降至110.59万元,降幅为33.39%。

指标注解:
市盈率
=总市值/净利润。当公司亏损时市盈率为负,此时用市盈率估值没有实际意义,往往用市净率或市销率做参考。
市净率
=总市值/净资产。市净率估值法多用于盈利波动较大而净资产相对稳定的公司。
市销率
=总市值/营业收入。市销率估值法通常用于亏损或微利的成长型公司。
文中市盈率和市销率采用TTM方式,即以截至最近一期财报(含预报)12个月的数据计算。市净率采用LF方式,即以最近一期财报数据计算。
市盈率为负时,不显示当期分位数,会导致折线图中断。